Результатов: 1180

Самоподжог экс-военного был попыткой давления на суд – Минобороны

В Министерстве обороны считают, что акция самоподжога экс-военного Сергея Ульянова могла быть осуществлена для давления на ход судебного заседания вокруг его иска против ведомства. news.yandex.ua »

2018-7-26 16:20

Идеальное соотношение давления и прохлады - в зоопарке удавы делают массаж

<p>Зоопарк Crocodile Park в городе Давао на Филиппинах предлагает клиентам воспользоваться услугами питона-массажиста.</p> <p>На опубликованном в сети видео бирманский питон-альбинос ползает по телу женщины, выполняя прохладный освежающий массаж. Один сеанс стоит 100 писо - около $2, передает NewsOboz.org со ссылкой на Gazeta.ua.</p> <p>"Чтобы насладиться змеиным массажем, надо расслабиться, как и при любом другом... newsoboz.org »

2018-7-24 04:51

Идеальное соотношение давления и прохлады - в зоопарке удавы делают массаж

Зоопарк Crocodile Park в городе Давао на Филиппинах предлагает клиентам воспользоваться услугами питона-массажиста. На опубликованном в сети видео бирманский питон-альбинос ползает по телу женщины, выполняя прохладный освежающий массаж. gazeta.ua »

2018-7-23 18:20

Около 30 пассажиров пострадали из-за падения давления в самолете Ryanair

КИЕВ. 14 июля. УНН. Самолет компании Ryanair, который совершал рейс из Дублина в хорватский город Задар, был вынужден совершить аварийную посадку в аэропорту Франкфурт-Хан в западной Германии из-за технических проблем в пятницу. unn.com.ua »

2018-7-14 13:47

Усиление давления на РФ и украинские политзаключенные: о чем Порошенко говорил с Макроном

Лидеры стран согласовали дальнейшие шаги для обеспечения выполнения Минских договоренностей. ru.tsn.ua »

2018-7-12 17:04

Парубий: РФ продвигает "Северный поток-2" для давления на ЕС и распространения коррупционных схем

Председатель Верховной Рады Украины Андрей Парубий заявил, что Россия продвигает проект газопровода "Северный поток-2" для "политического давления на ЕС, для распространения коррупционных схем и для ослабления стран нашего региона". pravda.com.ua »

2018-6-30 01:05

Климкин указал на важность давления на РФ во время ЧМ-2018 ради освобождения узников Кремля

По слова Климкина, на встрече глав МИД "Нормандской четверки" в Берлине впервые серьезно обсуждался вопрос освобождения заложников и политзаключенных. zn.ua »

2018-6-16 23:25

В Турции открыли газопровод в обход России: это удар в спину

<p>Во вторник, 12 июня, в Турции состоялась церемония запуска газопровода TANAP в обход Российской Федерации, передает  NewsOboz.org со ссылкой на Обозреватель.</p> <p>На мероприятии присутствовал президент Украины Петр Порошенко, который оценил значение проекта TANAP, а также высказался о строительстве газопровода "Северный поток-2", заявив, что глава РФ Владимир Путин порядка десяти лет использует энергетические ресурсы в качестве инструмента для давления на энергетическую независимость других государств с целью влиять на их внутреннюю политику... newsoboz.org »

2018-6-13 09:05

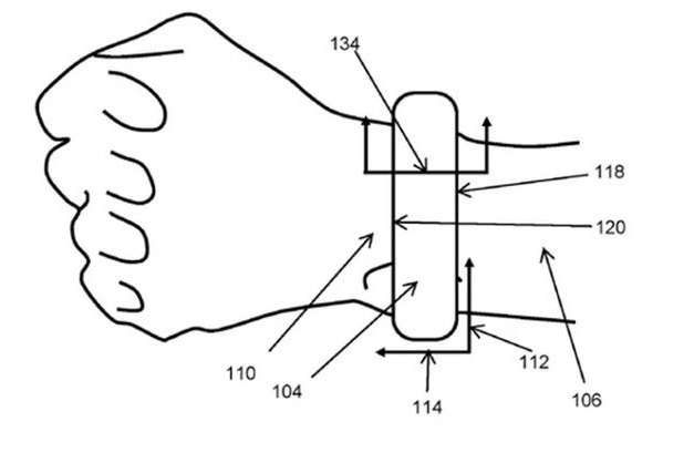
Apple может выпустить фитнес-браслет с функцией тонометра

<p>Компания Apple может выпустить фитнес-браслет с функцией измерения кровяного давления на что указывает новый патент компании, содержание которого опубликовало Ведомство по патентам и товарным знакам США, пишет NewsOboz.org со ссылкой на Корреспондент.net. Отмечается, что новейшая разработка сможет подключаться к уже существующим устройствам Apple, следить за показателями артериального давления и передавать данные на другие устройства для анализа... newsoboz.org »

2018-6-12 06:08

Apple запатентовала гаджет для измерения давления

Компания Apple получила патент дизайна для переносного монитора артериального давления - манжета, обеспеченным датчиком, который отслеживает давление владельца.

Об этом ukranews.com »

2018-6-8 14:02

Руководство украинско-германского СП "Шмайсер" не связывает арест Германа с попыткой давления на предприятие

На предприятии заявляют, что Борис Герман является волонтером и патриотом, и удивлены, что его обвиняют в посредничестве в деле о покушении на убийство Бабченко. Киев. 7 июня. УНИАН. Руководство ООО... unian.net »

2018-6-7 15:14

Кардиолог Леонид Кушнир: «Бояться нужно не ежедневного приема таблеток «от давления», а гипертонической болезни»

Гипертония опасна осложнениями, самыми грозными из которых являются инфаркт миокарда, инсульт, почечная недостаточность и слепота fakty.ua »

2018-5-31 08:00

Бортник: Власть использует Бабченко для давления на внутренних оппонентов

Украинский политолог Руслан Бортник предположил, зачем СБУ провернула операцию с убийством российского журналиста Аркадия Бабченко ukraina.ru »

2018-5-30 18:47

Названы три цели Путина в Азовском море

<p>Действия России в Азовском море направлены на оказание политического и экономического давления на Украину.</p> <p>Об этом "Апострофу" рассказал эксперт по вопросам безопасности, генерал-лейтенант Василий Богдан, передает NewsOboz.org.</p> <p>"Во-первых, со строительством Керченского моста уменьшается тоннаж судов, которые могут пройти под этим мостом - это сильный удар по экономике, по портовой системе Мариуполя... newsoboz.org »

2018-5-25 17:22

Порошенко и Мэй обсудили усиление давления на Кремль

Лидеры двух стран обсудили возможности противостояния агрессивной политике Кремля в контексте подготовки к саммиту "Большой семерки", который состоится 8–9 июня в Канаде, говорится в официальном коммюнике. gogetnews.info »

2018-5-25 03:30

Порошенко и Мэй обсудили усиление давления на Кремль

Президент Украины Петр Порошенко и премьер-министр Великобритании Тереза Мэй обсудили возможности противостояния агрессивной политике РФ в контексте подготовки к саммиту "Большой семерки", который состоится 8 – 9 июня в Канаде. news.yandex.ua »

2018-5-25 01:27

Порошенко и Мэй обсудили усиление давления на РФ

Президент Украины Петр Порошенко и премьер-министр Великобритании Тереза Мэй подчеркнули важность продолжения и усиления санкций против России. k.img.com.ua »

2018-5-25 00:58

Измеряем артериальное давление дома: медики дали инструкцию

<p>Частое измерения АД является частью лечения гипертонии, но многие делают это неправильно в домашних условиях. Специалисты назвали несколько самых распространенных ошибок при определении кровяного давления, пишет  NewsOboz.org со ссылкой на Знай.</p> <p>При симптомах гипертонии лечащий врач часто назначает пациенту регулярно дома измерять свое давление, после чего показывать полученные результаты... newsoboz.org »

2018-5-24 11:07

Шульмейстер о ситуации в "Украэрорухе": кризис в коллективе стал результатом политического давления

КИЕВ. 23 мая. УНН. Сложившаяся ситуация на ГП "Украэрорух", по сути, является следствием попыток политического давления на предприятие. Такое мнение в комментарии УНН высказал бывший заместитель министра инфраструктуры Украины Владимир Шульмейстер. unn.com.ua »

2018-5-23 16:48

В Польше объяснили, как Россия может использовать "Северный поток-2" против Европы

Польша вместе с Соединенными Штатами Америки выступает против строительства российско-германского газопровода "Северный поток-2", который Москва может использовать для политического давления на страны Европы. 24tv.ua »

2018-5-23 14:32

Ученые рассчитали значение давления внутри протона

Исследователи из Лаборатории имени Джефферсона уже планируют проведение ряда очередных экспериментов по измерению некоторых других свойств протона.


telegraf.com.ua »

2018-5-19 02:32

США пообещали КНДР продолжать кампанию максимального давления, если саммит с Трампом будет отменен

"Мы были готовы, что это могут быть жесткие переговоры", - заявила представительница Белого дома. unian.net »

2018-5-16 16:56

Как правильно измерить давление: 5 простых правил

Измерение кровяного давления используют как один из начальных параметров диагностики состояния пациента. Но есть люди, которым важно постоянно быть в курсе – какое у них давление, чтобы уберечь себя от негативных последствий. 24tv.ua »

2018-5-15 15:51

Британия планирует создать альянс союзников для давления на РФ

Британские дипломаты планируют использовать в этом году четыре крупных саммита - G7, G20, НАТО и ЕС, чтобы попытаться углубить союз против России, построенный министерством иностранных дел после отравления бывшего российского двойного агента Сергея Скрипаля в Солсбери. news.yandex.ua »

2018-5-4 07:53

Британия подготовила план по усилению мирового давления на РФ - The Guardian

Издание The Guardian, ссылаясь на источники в Министерстве иностранных дел, сообщает, что на международных саммитах в 2018 году&nbsp;Великобритания собирается усилить давление на Россию.

nv.ua »

2018-5-4 01:20

Агрессивная бизнес-манера Трампа давления на партнеров стала обычной практикой - эксперт

Пока что ковбойский стиль Трампа существенно не повлиял на ЕС, но американский президент продолжает действовать в своем стиле. zn.ua »

2018-5-3 12:04

Минздрав дал 5 советов для снижения давления

Снизить кровяное давление в организме помогают действенные советы. О них написало Министерство здравоохранения на странице в Facebook. 1. Не курите. На здоровье сердца отрицательно влияет как активное, так и пассивное курение. gazeta.ua »

2018-5-2 14:34

Компания Disney представила прототип надувного робота: захватывающее видео

Исследовательское подразделение компании Disney представило прототип надувной роботизированной руки. Она может безопасно взаимодействовать с людьми и аккуратно передвигать объекты. Об этом пишет nplus1. 24tv.ua »

2018-5-2 12:04

Киев призвал мир к усилению давления на РФ из-за агрессии на Донбассе

Украинское внешнеполитическое ведомство призвало страны-партнеры Киева усилить давление на Россию в связи с агрессией Кремля на Донбассе, передает replyua.net. В том числе, занимающая должность пресс-секретаря ведомства Марьяна Беца на своей странице в микроблоге Twitter заявила, что накануне, 28 апреля, на Донбассе был зафиксирован 61 обстрел, в связи с которыми пострадали 7 украинских военных. Об этом Беца написала в своем Twitter-аккаунте. replyua.net »

2018-4-29 12:42

Киев призвал мир к усилению давления на РФ из-за агрессии на Донбассе

Украинское внешнеполитическое ведомство призвало страны-партнеры Киева усилить давление на Россию в связи с агрессией Кремля на Донбассе, передает replyua.net. news.yandex.ua »

2018-4-29 12:42

Россия использует теракты как способ давления на Запад

Я много писал о том, что РФ ведет войну. Эта война описана в их нормативных документах. И зря, что все не слышат Путина про » Вы нас не слышите». РФ все четко формулирует. Одним из немногих способов ведения войны, на данный период, у РФ остались теракты. inforesist.org »

2018-4-25 10:42